Мотор-редуктор для современного привода машин и механизмов - незаменимое оборудование. Надежная и практичная, при этом распространенная во многих отраслях коническо-цилиндрическая группа мотор-редукторов, отвечает высоким стандартам качества.
Как правило, червячный мотор-редуктор К предназначен для постепенного снижения частоты вращения вала двигателя и непосредственно для передачи момента. Используется агрегат в самых разных сферах промышленности, для приводов машин и механизмов, станков и конвейеров, вспомогательных устройств. Встречается коническо-цилиндрический мотор-редуктор серии K на различных предприятиях в сельскохозяйственной, строительной и промышленной сферах. Наиболее активно используется механизм в машиностроении. Немного реже агрегат используется при автоматизации производственного процесса, создании конвейерных линий и полной модернизации электрических систем. Новейшее производственное оснащение нашей компании позволяет снизить стоимость и увеличить срок службы каждой детали. А цена на приводную продукцию и аксессуары прямо со склада порадует. Заказать доставку товара и уточнить все ее аспекты вы можете по телефонам наших специалистов.
Мотор-редуктор в данной серии имеет некоторые особенности. В частности, это возможность легкой интеграции в электрическую систему оборудования. Редуктор можно охарактеризовать как механизм, обеспечивающий четкую работу при наличии минимального числа люфтов, а также обладающий высокой надежностью и долговечностью. Изготавливается привод по модульному принципу, при этом можно будет легко и просто осуществить замену, ремонт или же его модернизацию. Вместе с тем модернизация позволит увеличить диапазон использования оборудования. Устройство имеет корпус, изготовленный из чугуна высокого качества посредством технологии точного литья.
Каждый редуктор имеет свое собственное условное обозначение, которое и позволяет подобрать необходимый аппарат для конкретного типа задач. К примеру, можно рассмотреть механизм, имеющий условное обозначение K 77 25,03 56 4,0 (S) M1. Первая буква К несет в себе наименование типа устройства. Число 77 обозначает межосевое расстояние, а 25,03 указывает на передаточное число. Число 56 говорит о том, что количество оборотов образуется на выходе равно 56 в минуту, что, естественно, определено в классификации. Мощность электродвигателя устройства равна 4,0 кВт, на что указывает условное обозначения. Буква S показывает на особую модификацию редуктора, то и определяет особенности его использования. И наконец, последнее сочетание М1 указывает на монтажную позицию оборудования.
Цилиндро-конические мотор-редукторы серии K имеют некоторые условные различия, которые разделяются по конструктивному исполнению механизмов. Существуют следующие отличительные особенности агрегатов, которые входят в состав группы:
Аналогом существующих типов аппаратов серии К можно назвать серию Х, которая представляет собой новое поколение устройств, обеспечивающих на выходе момент вращения значением от 58000 до 175000 Нм. В данной серии имеется своеобразный диапазон значений передаточного числа, значением от 6 и до 400, в зависимости от предназначения и прочих конструктивных параметров. Выходной вал устройства может быть изготовлен в одном из двух вариантов, а также полым, цельным, что и становится оптимальным выбором для конкретных механизмов. В данной серии можно отметить три типа устройств по количеству ступеней – двух, трех или четырех, в зависимости от нагрузок.
Каждая из моделей имеет свои собственные варианты крепления. В частности, модели К, КА крепятся посредством лап, в то время как KF, KAF посредством использования фланцев. Подобное конструктивное исполнение и определяет в последующем его монтаж и установку в структуру оборудования.
Есть желание приобрести устройство из данной серии оптом или же в розницу? Тогда самое время обратиться за помощью к ООО «Техноэкссервис», что позволит получить качественное и практичное оборудование, отвечающее высоким стандартам и требованиям. Компания помимо поставок занимается, в том числе, ремонтом и обслуживанием агрегата. Процесс непременно осуществляется на выгодных для покупателя условиях.
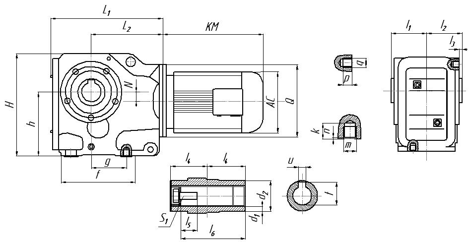
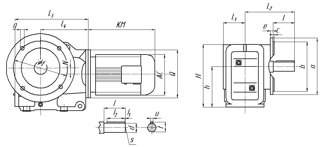
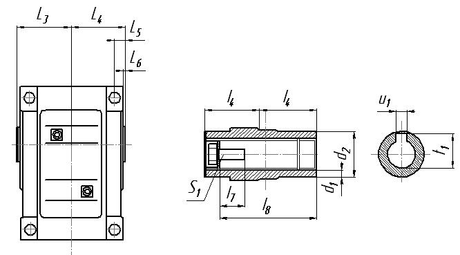
В настоящее время существует порядка двенадцати отдельных типоразмеров привода. В машиностроении можно найти такие типоразмеры, как 37, 47, 57, 67, 77, 87, 97, 107, 127, 157, 167, 197. Каждый из них имеет свои отдельные присоединительные размеры, которые необходимо уточнять в обязательном порядке при предварительной консультации по вопросу приобретения.
Типоразмер | a b c | e1 e2 f | g1 g2 g3 | h1 h2 | j | k | m n | Размеры выходных валов | ||||
d | I | I1 I2 | S | t u | ||||||||
К-37 | 115 110 100 | 150 143 120 | 32 28 60 | 100-0.5 63-0.5 | 16 | 11 | 37 38 | 25k6 | 50 | 5 40 | M10 | 28 8 |
К-47 КА-47В | 130 130 120 | 170 162 145 | 37 35 75 | 112-0.5 71-0.5 | 18 | 11 | 37 32 | 30k6 | 60 | 3.5 50 | M10 | 33 8 |
К-57 КА-57В | 150 130 130 | 190 172 157 | 45 30 88 | 132-0.5 80-0.5 | 21 | 13.5 | 43 40 | 35k6 | 70 | 7 56 | M12 | 38 10 |
К-67 КА-67В | 160 120 140 | 203 170 170 | 45 30 101 | 140-0.5 90-0.5 | 24 | 13.5 | 43 45 | 40k6 | 80 | 5 70 | M16 | 43 12 |
К-77 КА-77В | 200 150 165 | 263 208 200 | 55 40 123.5 | 180-0.5 112-0.5 | 27 | 17.5 | 55 55 | 50k6 | 100 | 10 80 | M16 | 53.5 14 |
К-87 КА-87В | 233 180 180 | 305 260 230 | 70 55 150 | 212-0.5 132-0.5 | 32 | 22 | 67 75 | 60m6 | 120 | 5 110 | M20 | 64 18 |
К-97 КА-97В | 295 240 240 | 372 294 290 | 75 75 171 | 265-1 160-0.5 | 36 | 26 | 82 60 | 70m6 | 140 | 7.5 125 | M20 | 74.5 20 |
К-107 КА-107В | 360 280 270 | 448 380 340 | 95 95 212 | 315-1 200-0.5 | 40 | 33 | 98 100 | 90m6 | 170 | 5 160 | M24 | 95 25 |
К-127 КА-127В | 420 350 330 | 526 440 400 | 110 115 253 | 375-1 225-0.5 | 45 | 39 | 111 100 | 110m6 | 210 | 15 180 | M24 | 116 28 |
К-157 КА-157В | 500 380 420 | 634 480 500 | 130 140 247 | 450-1 280-1 | 50 | 39 | 130 100 | 120m6 | 210 | 5 200 | M24 | 127 32 |
Типоразмер | Размеры полого выходного вала | H | L1 L2 | L3 | N | Q | ||||||
d1 | d2 | I3 I4 | I5 I6 | I7 I8 | s1 | t1 u1 | ||||||
К-37 | - | - | - | - | - | - | - | 165 | 110 60 | 139 | 8.5 | 120 |
К-47 КА-47В | 35H7 | 50 | 78 75 | 15 3 | 22 132 | M 12x30 | 38.3 10 | 185 | 135 72 | 166 | 7.2 | 160 |
К-57 КА-57В | 40H7 | 55 | 86 83 | 18 3 | 29 142 | M 16x40 | 43.3 12 | 217 | 153 80 | 173 | 13.1 | 160 |
К-67 КА-67В | 40H7 | 55 | 93 90 | 20 3.5 | 29 156 | M 16x40 | 43.3 12 | 228 | 171 86.5 | 179 | 20 | 160 |
К-77 КА-77В | 50H7 | 70 | 108 105 | 22.5 4 | 32 183 | M 16x45 | 53.8 14 | 288 | 206 101 | 202 | 31.3 | 200 |
К-87 КА-87В | 60H7 | 85 | 123 120 | 30 4 | 36 210 | M 20x50 | 64.4 18 | 340 | 240 116 | 257 | 25.9 | 250 |
К-97 КА-97В | 70H7 | 95 | 153 150 | 30 4 | 34 270 | M 20x50 | 74.9 20 | 417 | 291 146 | 277 | 32.3 | 300 |
К-107 КА-107В | 90H7 | 118 | 178 175 | 40 2.5 | 40 313 | M 24x60 | 95.4 25 | 503 | 347 175 | 341 | 52 | 350 |
К-127 КА-127В | 100H7 | 135 | 208 205 | 40 2.5 | 38 373 | M 24x60 | 106.4 28 | 592 | 418 203 | 390 | 53 | 450 |
К-157 А-157В | 120H7 | 155 | 253 250 | 40 2.5 | 36 460 | M 24x60 | 127.4 32 | 705 | 457 250 | 426 | 71.7 | 550 |
Типоразмер | a b c |
e f g |
h | k m n |
p q |
Размеры полого выходного вала | H L1 L2 |
N Q |
|||
d1 d2 |
I1 I2 I3 |
I4 I5 I6 |
s t u |
||||||||
КА-37 | 60 35 82 |
100 147 97 |
100 | 20 М10 4 |
12 М8 |
30 45 |
63 60 2,5 |
60 17 105 |
М10 3,3 8 |
164 210 139 |
8,5 120 |
КА-47 | 70 40 100 |
110 170 115 |
112 | 20 М10 4 |
12М8 | 35 50 |
78 75 3 |
75 22 132 |
М12 38,3 10 |
185 243 166 |
7,2 160 |
КА-57 | 88 47 105 |
122 182 120 |
132 | 25 М12 5 |
20 М12 |
40 55 |
86 83 3 |
83 29 142 |
М16 43,3 12 |
215 269 173 |
13,1 160 |
КА-67 | 88 42 110 |
130 182 125 |
140 | 25 М12 5 |
20 М12 |
40 55 |
94 90 3,5 |
90 29 156 |
М16 43,3 12 |
226 274 179 |
20 160 |
КА-77 | 102 48 122 |
154 204 139 |
180 | 32 М16 6 |
20 М12 |
50 70 |
108 105 4 |
105 32 186 |
М16 53,8 14 |
286 312 202 |
31,3 200 |
КА-87 | 118 65 160 |
170 280 190 |
212 | 32 М16 6 |
26 М16 |
60 85 |
123 120 4 |
120 36 210 |
М20 64,4 18 |
338 390 257 |
25,9 250 |
КА-97 | 160 83 165 |
226 298 190 |
265 | 36 М20 6 |
26 М16 |
70 95 |
153 150 4 |
150 34 270 |
М20 74,9 20 |
414 435 277 |
32,3 300 |
КА-107 | 190 100 190 |
266 370 230 |
315 | 44 М24 8 |
- | 90 118 |
178 175 2,5 |
175 40 313 |
М24 95,4 25 |
500 537 341 |
52 350 |
Типоразмер | Тип фланца | a b |
c e |
f g h |
Размеры выходного вала | Размеры полого выходного вала | H | L1 L2 L3 |
L4 N Q |
|||||||
d I |
I1 I2 |
s | t u |
d1 d2 |
I3 I4 I5 |
I6 I7 I8 |
S1 | t1 u1 |
||||||||
КF-37, КAF-37 |
Фл.1 | 160 110j6 |
3.5 10 |
130 9 100 |
25k6 50 |
5 40 |
M10 | 28 8 |
30H7 45 |
63 60 24 |
60 17 105 |
M10x25 | 33.3 8 |
164 | 57,5 134 210 |
139 8,5 120 |
КF-47, КAF-47 |
Фл.1 | 200 130j6 |
3.5 10 |
165 11 112 |
30k6 60 |
3.5 50 |
M10 | 33 8 |
35H7 50 |
78 75 25 |
75 22 132 |
M12x30 | 38.3 10 |
185 | 72 160 243 |
166 7.2 160 |
КF-57, КAF-57 |
Фл.1 | 250 180j6 |
4 15 |
215 13.5 132 |
35k6 70 |
7 56 |
M12 | 38 10 |
40H7 55 |
86 83 23.5 |
83 29 142 |
M16x40 | 43.3 12 |
215 | 80 177 269 |
173 13.1 160 |
КF-67, КAF-67 |
Фл.1 | 250 180j6 |
4 15 |
215 13.5 132 |
40k6 80 |
5 70 |
M16 | 43 12 |
40H7 55 |
94 90 23 |
90 29 156 |
M16x40 | 43.3 12 |
226 | 86.5 193 274 |
179 20 160 |
КF-77, КAF-77 |
Фл.1 | 300 230j6 |
4 16 |
265 13.5 180 |
50k6 100 |
80 10 |
M16 | 53.5 14 |
50H7 70 |
108 105 37 |
105 32 183 |
M16x45 | 53.8 14 |
286 | 101 242 312 |
202 31.3 200 |
КF-87, КAF-87 |
Фл.1 | 350 250h6 |
5 18 |
300 17.5 212 |
60m6 120 |
5 110 |
M20 | 64 18 |
60H7 85 |
123 120 30 |
120 36 210 |
M20x50 | 64.4 18 |
338 | 138 270 390 |
257 25.9 250 |
КF-97, КAF-97 |
Фл.2 | 450 350h6 |
5 22 |
400 17.5 265 |
70m6 140 |
7.5 125 |
M20 | 74.5 20 |
70H7 95 |
153 150 41.5 |
150 34 270 |
M20x50 | 74.9 20 |
414 | 171 332 435 |
277 32.3 300 |
КF-107, КAF-107 |
Фл.2 | 450 350h6 |
5 25 |
400 17.5 315 |
90m6 170 |
5 160 |
M24 | 95 25 |
90H7 118 |
178 175 41 |
175 40 313 |
M24x60 | 95.4 25 |
500 | 175 386 537 |
341 52 350 |
КF-127, КAF-127 |
Фл.2 | 550 450h6 |
5 22 |
500 17.5 375 |
110m6 210 |
15 180 |
M24 | 116 28 |
100H7 135 |
208 205 51 |
205 38 373 |
M24x60 | 106.4 28 |
592 | 203 466 615 |
390 53 450 |
КF-157, КAF-157 |
Фл.2 | 660 550h6 |
6 28 |
600 22 450 |
120m6 210 |
5 200 |
M24 | 127 32 |
120H7 155 |
253 250 60 |
250 36 460 |
M24x60 | 127.4 32 |
705 | 253 520 706 |
705 71.7 550 |
Чтобы оценить целесообразность и выгоду замены 6МЦКЦ на редукторы К, Вам необходмо сравнить для себя следующие параметры:
Компания ООО "Техноэкссервис" поможет Вам в анализе двух аналогов. Звоните нашим менеджерам по телефонам: +375-17-223-94-25