
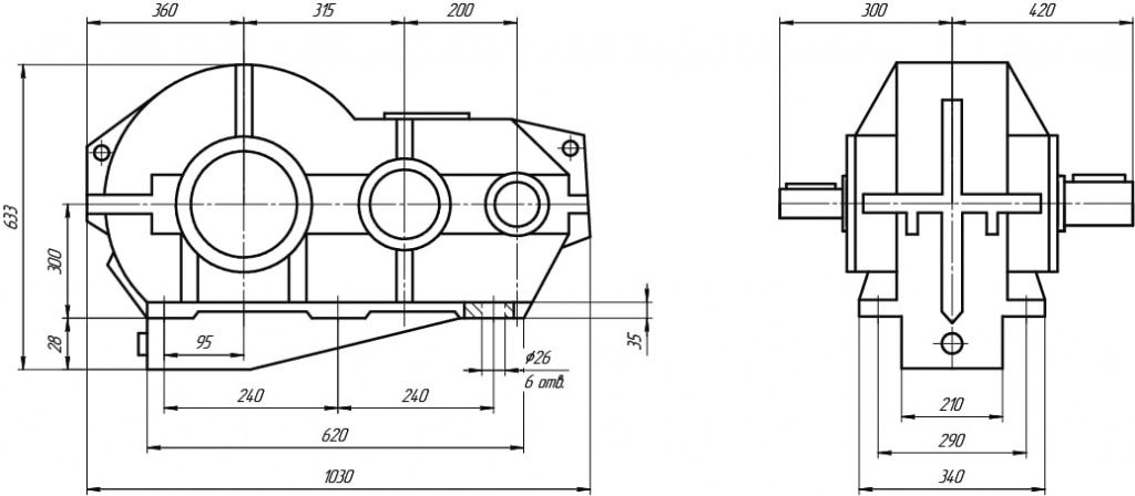
1. Модель редуктора.
2. Габарит редуктора.
3. Передаточное число.
4. Вариант сборки.
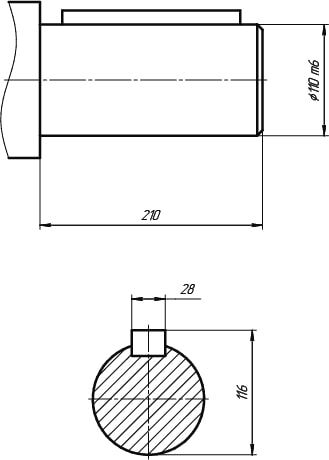
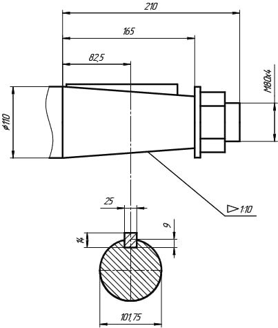
5. Исполнение валов, Цвх/Квых (вх- входной вал, вых- выходной вал),
(Ц - цилиндрический вал,
К - конический вал,
М- вал в виде части зубчатой муфты).




| Типоразмер редуктора | Редуктор Ц2У-315К | |||||||||||||
| Передаточное число | 8 | 10 | 12,5 | 16 | 20 | 25 | 31,5 | 40 | 50 | |||||
| Частота вращения | Режим работы | Допускаемый крутящий момент на выходном валу редуктора, Н-м | ||||||||||||
| входного вала, об./мин. | ||||||||||||||
| 500 | Нереверсивный | л | 10300 | 10700 | 10400 | 9900 | 10800 | 11200 | 9800 | 8700 | 1000 | |||
| с | 9200 | 8600 | 7900 | |||||||||||
| т | 9200 | 8600 | 7600 | |||||||||||
| 750 | л | 9700 | 10100 10300 | 9900 | 10100 | 10500 | 9800 | 8700 | 10000 | |||||
| с | 9200 | 8600 | 7600 | |||||||||||
| т | 9100 | 9200 | 9100 | 8600 | 7600 | |||||||||
| 1000 | л | 9200 | 9600 | 9900 | 9800 | 9600 | 10000 | 9800 | 8700 | 9600 | ||||
| с | 9200 | 8600 | 7600 | |||||||||||
| т | 8900 | 9100 | 8800 | 8600 | 7600 | |||||||||
| 1500 | л | 9100 | 9200 | 300 | 9600 | 9000 | 9300 | 9700 | 8600 | 8900 | ||||
| с | 8900 | 9100 | 9200 | 9200 | 8600 | 7600 | ||||||||
| т | 8600 | 8800 | 8500 | 8600 | 7600 | |||||||||
| 500 | Реверсивный | л | 8000 | 8300 | 8100 | 7600 | 8400 | 8700 | 7600 | 6700 | 8300 | |||
| с | 7100 | 6600 | 6700 | 6100 | ||||||||||
| т | 7100 | 6600 | 5900 | |||||||||||
| 750 | л | 7500- | 7600 8000 | 7600 | 7800 | 8100 | 7600 | 6700 | 7700 | |||||
| с | 7100 | 6600 | 5960 | |||||||||||
| т | 7100 | 6600 | 5900 | |||||||||||
| 1000 | л | 7100 | 7400 | 7700 | 7600 | 7500 | 7700 | 7600 | 6700 | 7400 | ||||
| с | 7100 | 6600 | 5900 | |||||||||||
| т | 7100 | 6600 | 5900 | |||||||||||
| 1500 | л | 7000 | 7100 | 7200 | 7400 | 7000 | 7200 | 7500 | 6700 | 6900 | ||||
| с | 7000 | 7100 | 6600 | 5900 | ||||||||||
| т | 7000 | 7100 | 6600 | 5900 | ||||||||||


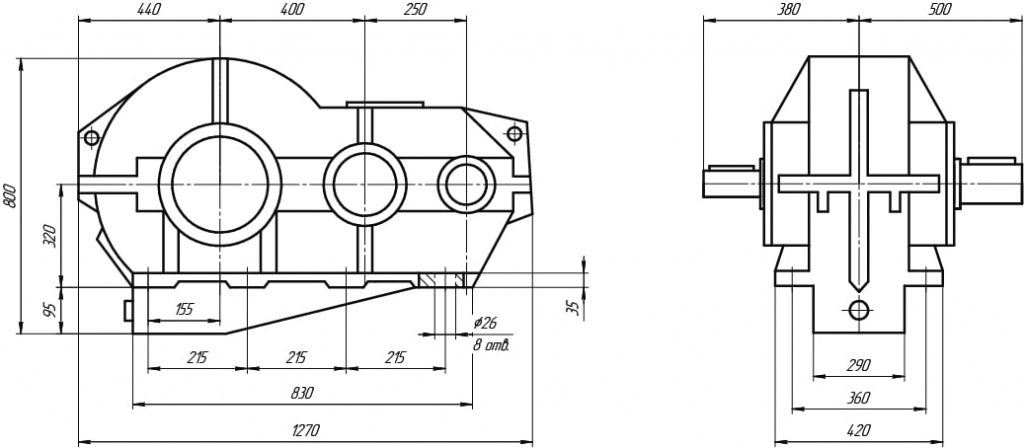
1. Модель редуктора.
2. Габарит редуктора.
3. Передаточное число.
4. Вариант сборки.
5. Исполнение валов, Цвх/Квых (вх- входной вал, вых- выходной вал),
(Ц - цилиндрический вал,
К - конический вал,
Пшл - полый шлицевой вал,
Пшп- полый вал со шпоночным пазом,
М- вал в виде части зубчатой муфты).




| Типоразмер редуктора | Редуктор Ц2У-315К | |||||||||||||
| Передаточное число | 8 | 10 | 12,5 | 16 | 20 | 25 | 31,5 | 40 | 50 | |||||
| Частота вращения | Режим работы | Допускаемый крутящий момент на выходном валу редуктора, Н-м | ||||||||||||
| входного вала, об./мин. | ||||||||||||||
| 500 | Нереверсивный | л | 10300 | 10700 | 10400 | 9900 | 10800 | 11200 | 9800 | 8700 | 1000 | |||
| с | 9200 | 8600 | 7900 | |||||||||||
| т | 9200 | 8600 | 7600 | |||||||||||
| 750 | л | 9700 | 10100 10300 | 9900 | 10100 | 10500 | 9800 | 8700 | 10000 | |||||
| с | 9200 | 8600 | 7600 | |||||||||||
| т | 9100 | 9200 | 9100 | 8600 | 7600 | |||||||||
| 1000 | л | 9200 | 9600 | 9900 | 9800 | 9600 | 10000 | 9800 | 8700 | 9600 | ||||
| с | 9200 | 8600 | 7600 | |||||||||||
| т | 8900 | 9100 | 8800 | 8600 | 7600 | |||||||||
| 1500 | л | 9100 | 9200 | 300 | 9600 | 9000 | 9300 | 9700 | 8600 | 8900 | ||||
| с | 8900 | 9100 | 9200 | 9200 | 8600 | 7600 | ||||||||
| т | 8600 | 8800 | 8500 | 8600 | 7600 | |||||||||
| 500 | Реверсивный | л | 8000 | 8300 | 8100 | 7600 | 8400 | 8700 | 7600 | 6700 | 8300 | |||
| с | 7100 | 6600 | 6700 | 6100 | ||||||||||
| т | 7100 | 6600 | 5900 | |||||||||||
| 750 | л | 7500- | 7600 8000 | 7600 | 7800 | 8100 | 7600 | 6700 | 7700 | |||||
| с | 7100 | 6600 | 5960 | |||||||||||
| т | 7100 | 6600 | 5900 | |||||||||||
| 1000 | л | 7100 | 7400 | 7700 | 7600 | 7500 | 7700 | 7600 | 6700 | 7400 | ||||
| с | 7100 | 6600 | 5900 | |||||||||||
| т | 7100 | 6600 | 5900 | |||||||||||
| 1500 | л | 7000 | 7100 | 7200 | 7400 | 7000 | 7200 | 7500 | 6700 | 6900 | ||||
| с | 7000 | 7100 | 6600 | 5900 | ||||||||||
| т | 7000 | 7100 | 6600 | 5900 | ||||||||||
